Касетони фасадні

Сучасні фасади будівель. Фасадні касетони.


Фасадні касетони застосовуються як для облицювання фасадів існуючих будівель, так і в каркасному будівництві як декоративний елемент збірної сендвіч-панелі. Фасадні системи з використанням касетонів мають сучасний і естетичний вигляд. Конструкція касетонів «ПРУШИНЬСКІ» була розроблена таким чином, щоб надати спорудам додаткову міцність і підвищити довговічність. Компанія виробляє також кутові касетони з відкритим і закритим стиками.

Фасадні касетони
Фасадні касетони
Фасадні касетони

Види касетонів та їхні розміри


Компанія «ПРУШИНЬСКІ» виробляє касетони двох типів з оцинкованого металу товщиною 1,00; 1,20 і 1,50 мм з полімерним покриттям (поліестер і PVDF): – касетони з закритим стиком (К-1 та К-2); – касетони з відкритим стиком (Т-1). Касетони постачаються в стандартномм кольорі RAL 9006. За спеціальним замовленням можемо виготовити касетони й інших кольорів.

Касетон К-1
Касетон К-1

Касетон К-2
Касетон К-2
Касетон Т-1
Касетон Т-1
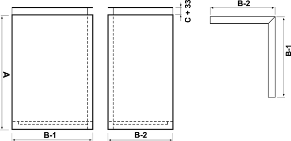
А – висота дзеркала касетона; В – довжина дзеркала касетона; С – горизонтальний стик касетона (для К-1 і К-2 – від 0 до 30 мм, для Т-1 – від 20 до 60 мм); D – вертикальний стик касетона (для К-1 і К-2 – від 0 до 30 мм, для Т-1 – від 20 до 60 мм); Е – глибина касетона (для К-1 і К-2 – від 35 до 60 мм, для Т-1 – від 20 до 60 мм). Увага! Розмір касетонів залежить від товщини металу, з якого вони виготовлені. Чим більше розмір касетонів, тим більше повинна бути товщина металу. Компанією «ПРУШИНЬСКІ» виготовляються касетони з максимальною товщиною металу 1,50 мм, тому існує обмеження розмірів касетонів.


Касетони кутові
Кутовий касетон
Кутовий касетон
Кутовий касетон
Кутовий касетон з закритим стиком К1
Кутовий касетон з закритим стиком К1
Кутовий касетон з відкритим стиком Т1 на фасаді
Компанія «ПРУШИНЬСКІ» виробляє також кутові касетони з відкритим і закритим стиками, які надають фасадам споруд естетичності і завершеності (дивіться фото нижче).
Монтаж касетонів обох видів на фасаді може проводитися як зліва направо, так і навпаки. Це залежить від наявності на фасаді вікон, вітражів, великих вхідних груп, виступів – тобто тих елементів, які впливають на розкладку касетонів. Для обробки кутів фасадів, змонтованих з касетонів, компанія «ПРУШИНЬСКІ» пропонує два варіанти. Перший — це виготовлення кутового касетона з відкритим і закритим стиком. Другий — це використання спеціальних планок, які повторюють форму касетонів і виробляються з металу мінімальною товщиною 0,7 мм.


Кутовий касетон
Компанія «ПРУШИНЬСКІ» виробляє також кутові касетони з відкритим і закритим стиками, які надають фасадам споруд естетичності і завершеності (дивіться фото нижче).

Кутовий касетон
Кутовий касетон

Галерея об'єктів вироблених з касетонів